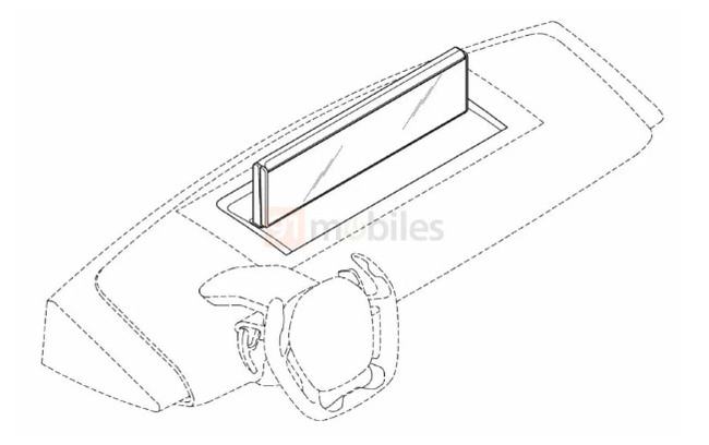
据外媒 91mobiles 报道,LG 一项汽车用折叠屏的专利通过了世界知识产权组织 WIPO 的申请。这项专利展现了一个类似手机的折叠屏设计,向内展开。折叠屏不用时收纳在汽车内部,使用时由升降机构升起并展开,在中控位置呈现一个大屏幕。

从专利图中可以看出,折叠屏位于中控上方,展开后尺寸预计超过 20 英寸。产品通过一个开槽进行升降,铰链部分预计支持电动翻折。


从示意图可以看出,折叠屏侧面采用楔形设计,上窄下宽,类似华为 Mate X2 折叠屏手机。这种方式有助于提高结构的稳固度。

IT之家了解到,目前的汽车除了普遍采用大尺寸中控大屏,还有的车型采用悬浮式屏幕设计。LG 这项专利预计主要用于娱乐用途,方便车主在车内观看电影、游戏等,因为这种屏幕尺寸较大,展开后会阻挡前方的视线。
外媒表示,LG 还在开发一种车用卷轴屏设备,但是目前没有详细消息被曝光。
